Чтобы запросить цену ниже, укажите номер телефона и e-mail.
Все остальные данные Вы сможете сообщить менеджеру.
HiWatch DS-T201 (2.8 mm) 2Мп внутренняя купольная HD-TVI камера видеонаблюдения с ИК-подсветкой
Производитель
Тип объектива
Формат сигнала
Разрешение
Место установки
Тип камеры
Фокусное расстояние объектива
Дальность действия подсветки
Поддержка аудио
Поддержка Wi-Fi

2Мп (1920х1080) внутренняя купольная HD-TVI камера HiWatch DS-T201 (2.8 mm) с ИК-подсветкой до 20 метров, 1/2.7" CMOS матрица; объектив 2.8мм; угол обзора 103°; механический ИК-фильтр; 0.01 Лк@F1.2; OSD, DWDR, BLC, DNR; Smart ИК; видеовыход: 1 х HD-TVI/AHD/CVI/CVBS; -20°С до +45°С; 12В DC±15%, 4Вт макс.
Особенности HiWatch DS-T201 (2.8 mm)
- Разрешение 2Мп
- ИК-подсветка до 20 м
- Объектив 2.8мм
- Улучшение изображения: DNR
- HD-TVI видеовыход
Для создания этой серии камер использовались передовые технологии проектирования и сенсор нового поколения с высокой чувствительностью.
Это обеспечивает высокое разрешение, низкий уровень искажений и шума и т.д., что делает камеру идеальной для систем видеонаблюдения и обработки изображения.
- Высокое качество изображения благодаря высокопроизводительному CMOS сенсору высокого разрешения;
- Работа в условиях низкой освещенности;
- Поддержка автоматического баланса белого;
- Управление передачей данных;
- Усовершенствованный дизайн 3-х осевого крепления, удовлетворяющий различным требованиям установки.
Описание внешнего вида HiWatch DS-T201

Установка камеры DS-T201
Камера подойдет для установки на потолок и стену. В качестве примера будет взята установка на потолок.
Шаги:
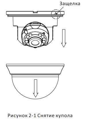
1. Подденьте защелку, чтобы снять купол и защитный кожух.
2. Просверлите отверстия для саморезов и кабеля в соответствии с шаблоном крепления.
3. Совместите монтажную платформу с шаблоном крепления и закрепите ее с помощью прилагаемых саморезов
4. Проложите кабель через отверстие для кабеля.
5. Соедините соответствующие кабели.
6. Отрегулируете камеру в соответствии с рисунком ниже, чтобы установить нужный угол.
7. Наденьте защитный кожух и купол обратно на камеру и закрепите их.




Размеры камеры HiWatch DS-T201

Вас может заинтересовать камера HiWatch DS-I402.
Купить HiWatch DS-T201 (2.8 mm) в интернет-магазине СЕК-ГРУПП в Москве: Черницынский проезд, д.3, стр.1 (метро Щелковская). Доставка по России.

1920 px

1080 px

2 Мп
103°

идентификация
до 3,1 м

распознание
до 6,2 м

обнаружение
до 31 м




* информация носит справочный характер
2Мп (1920х1080) внутренняя купольная HD-TVI камера HiWatch DS-T201 (2.8 mm) с ИК-подсветкой до 20 метров, 1/2.7" CMOS матрица; объектив 2.8мм; угол обзора 103°; механический ИК-фильтр; 0.01 Лк@F1.2; OSD, DWDR, BLC, DNR; Smart ИК; видеовыход: 1 х HD-TVI/AHD/CVI/CVBS; -20°С до +45°С; 12В DC±15%, 4Вт макс.
Особенности HiWatch DS-T201 (2.8 mm)
- Разрешение 2Мп
- ИК-подсветка до 20 м
- Объектив 2.8мм
- Улучшение изображения: DNR
- HD-TVI видеовыход
Для создания этой серии камер использовались передовые технологии проектирования и сенсор нового поколения с высокой чувствительностью.
Это обеспечивает высокое разрешение, низкий уровень искажений и шума и т.д., что делает камеру идеальной для систем видеонаблюдения и обработки изображения.
- Высокое качество изображения благодаря высокопроизводительному CMOS сенсору высокого разрешения;
- Работа в условиях низкой освещенности;
- Поддержка автоматического баланса белого;
- Управление передачей данных;
- Усовершенствованный дизайн 3-х осевого крепления, удовлетворяющий различным требованиям установки.
Описание внешнего вида HiWatch DS-T201

Установка камеры DS-T201
Камера подойдет для установки на потолок и стену. В качестве примера будет взята установка на потолок.
Шаги:
1. Подденьте защелку, чтобы снять купол и защитный кожух.
2. Просверлите отверстия для саморезов и кабеля в соответствии с шаблоном крепления.
3. Совместите монтажную платформу с шаблоном крепления и закрепите ее с помощью прилагаемых саморезов
4. Проложите кабель через отверстие для кабеля.
5. Соедините соответствующие кабели.
6. Отрегулируете камеру в соответствии с рисунком ниже, чтобы установить нужный угол.
7. Наденьте защитный кожух и купол обратно на камеру и закрепите их.




Размеры камеры HiWatch DS-T201

Вас может заинтересовать камера HiWatch DS-I402.
До ТК (СДЭК, ПЭК, Деловые Линии) - 0 Р
Остальные транспортные компании - 1000 Р
Заказы от 60 000 Р (по ценам сайта) - 0 Р
В пределах МКАД заказы стоимость > 5 000 руб. и < 2 кг - 750 руб., > 2 кг составляет 1000 руб.
Негабарит МКАД - 1300 Р (более 5 метров - 2000 Р)
За МКАД - 1000 Р + 90Р/км
Негабарит за МКАД - 1300Р + 110Р/км (более 5 метров - 2000 Р + 110Р/км)
г. Москва, Черницынский пр-д, д. 3 стр. 1. метро Щелковская
г. Уфа, ул. Трамвайная, д. 2 оф. 1-02
Мы правильно определили ваш город?
Оплата осуществляется путем банковского перевода денежных средств с расчетного счета покупателя на наш расчетный счет.
Счет выставляется по запросу в печатном или электронном виде. Счет действителен в течении 3-х банковских дней за исключением оборудования производства компании PERCo.
Оплата наличными производится в офисах компании при получении товара со склада по адресам:
- г. Москва, Черницынский проезд, д.3, стр.3
- г. Уфа, Трамвайная улица, д.2, офис 1-02
Стоимость заказа передаётся водителю компании при получении товара.



